← ford f 250 transmission diagram ford f 250 trailer wiring harness →
85 F350 Wiring Diagram - Wiring Diagram Networks. 9 Images about 85 F350 Wiring Diagram - Wiring Diagram Networks : 1981 F250 Vacuum Diagram: Where Can I Get the Vacuum Diagram for a..., SOLVED: I need to find a vacuum line diagram for a F 250 - Fixya and also 29 2000 Ford Explorer Vacuum Hose Diagram - Wiring Diagram List.
85 F350 Wiring Diagram - Wiring Diagram Networks
f350
1986 351W Need Pic Of Egr Tubes And Where They Go - Ford Truck
www.ford-trucks.com
egr 351w tubes abbreviations
SOLVED: I Need To Find A Vacuum Line Diagram For A F 250 - Fixya
www.fixya.com
explorer fixya
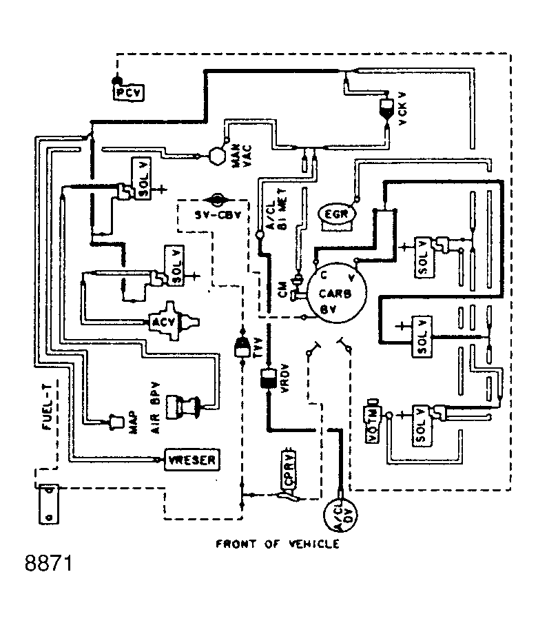
1981 F250 Vacuum Diagram: Where Can I Get The Vacuum Diagram For A...
www.2carpros.com
diagram vacuum 1981 f250 ford
[DIAGRAM] 2001 F250 Cab Fuse Panel Diagram FULL Version HD Quality
databaseomi.fesn2019.it
supercrew
67 Powerstroke Cooling System Diagram - Wiring Site Resource
wiringdatabaseinfo.blogspot.com
powerstroke flush
1991 F-150 5.0efi Vacuum Diagram For Throttle Body With Two Ports Not
ford 0efi ports f250 f350
29 2000 Ford Explorer Vacuum Hose Diagram - Wiring Diagram List
vacuum
78 F100 351m Motorcraft 2bbl Vacuum Help - Ford Truck Enthusiasts Forums
www.ford-trucks.com
vacuum ford f100 351m motorcraft 2bbl help truck disconnected
Ford 0efi ports f250 f350. [diagram] 2001 f250 cab fuse panel diagram full version hd quality. Diagram vacuum 1981 f250 ford
